Ninguém compra um veículo e imagina que vai bater na esquina, porém esta aumentando a preocupação com a segurança em caso de colisões, existem vários sistemas que servem para evitar a batida (Ativo), porém caso o veículo realmente se envolva num acidente, existe o sistema (Passivos) que entram em funcionamento para proteger os envolvidos na colisão, um destes é o Supplemental Restraint System "SRS" (Sistema de Restrição Suplementar) ou como é mais conhecido "Air Bag".
Estamos em construção...
Estes dispositivos ficam escondidos por baixo dos acabamentos, alguns veículos importados possuem até 10 ou mais dispositivos, que acabam passando desapercebidos pela maioria dos ocupantes (motoristas e passageiros), existem algumas pequenas indicações nas proximidades do dispositivo, gravadas no couro, em acabamentos ou etiquetas.



Em caso de colisão é possível visualizar alguns dos componentes, as bolsas que disparam por exemplo, porém existem vários outros que permanecem escondidos.
- Cinto de Segurança com retração pirotécnica;
- Barras de reforço;
- Sensores;
- Módulos;
Exemplos:
Bolsas de airbag quando são disparadas. (quando estão infladas)
Quando é desenvolvido um novo veículo (projeto) as empresas de automóveis investem milhões de reais, para garantir a segurança de todos os clientes, ocupantes e até pedestres. Modelos virtuais e programas de computador estão sendo cada vez mais utilizados, a tecnologia 3D tem ajudado muito.
Porém ainda existem equipes que possuem um trabalho até muito curioso, são pagos para destruir veículos, "isso mesmo destruir", após desenvolverem os veículos e efetuarem os testes virtuais e revisarem os cálculos varias vezes, a produção é iniciada e veículos devem ser testados de todas as formas, o que também inclui testes de colisão.
Para poder verificar os possíveis problemas os engenheiros utilizam bonecos chamados de "dummies" (na tradução literaria BOBOS, porem deveriam ser chamados de Salva Vidas), que servem para verificar as forças envolvidas numa batida, estes testes estão cada vez mais exigentes.
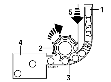
Para efetuar o disparo das bolsas do sistema de AirBag, atualmente utiliza-se de um dispositivo pirotécnico (um explosivo), ocupando um pequeno espaço o dispositivo, um filamento aquecido por uma correte elétrica transforma pastilhas sólidas em gás, está reação química é extremante rápida o disparo ocorre em 0,030 segundos ou 30 milésimos de segundo, o deslocamento de ar pode atingir a velocidade de 300 k/h.
(um piscar do olho acontece em 0,150 segundos ou 150 milésimos de segundo)
Está explosão controlada ocorre dentro de uma galeria, para evitar qualquer risco, sendo liberado apenas o gás através de orifícios controlados. Algumas bolsas possuem duas galerias, para trabalhar com estratégias de disparo simples ou duplo (meio disparo ou completo).
Existem basicamente dois tipos de substancia para efetuar esse disparo o Nitrato de Amônia (NH4NO3) ou Azida de Sódio (NaN3), as duas sofrem uma reação química muito violenta quando são aquecidas, liberando gás muito rápido, toda reação química gera calor, isto pode ser um problema em alguns sistemas como as cortinas laterais, a alta temperatura pode causar queimaduras no caso das bolsas laterais, devido a proximidade com os ocupantes para evitar lesões alguns sistema possuem gás pressurizado.


Todos os dispositivos pirotécnicos do sistema de Air Bag pode explodir se manuseados de forma incorreta
Em reforma...
Referencias: Links - Sites
Videos:
(https://youtu.be/Vz1x-GFI4ng)
teste do Velar.
https://youtu.be/SGe7ULo_F0s
Colisão do antigo com o moderno.
https://youtu.be/su1QsCXmkxs
os 10 piores da história que já circularam no brasil.
https://www.carrodegaragem.com/como-funcionam-os-airbags/
Como funciona o Airbag
https://www.infoescola.com/curiosidades/quimica-do-airbag/
Quimica do Airbag
https://youtu.be/-BQCxgOvf6E
os 10 melhores vendidos no brasil atualmente.
https://youtu.be/zi1zYP_dWrc
os 05 piores no teste de colisão
https://youtu.be/KRcajZHc6Yk
Nunca façam isso com um Aribag
https://youtu.be/R4ekbB5EzZM
Carro transparente demonstração do funcionamento airbag.






























































